服务热线
序号说明
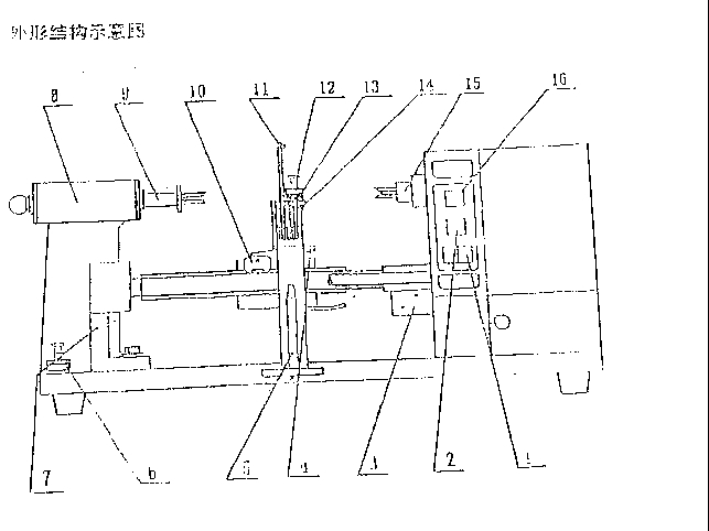
1、电源开关 5、纱管芯 9、左黑板夹 13、导纱钩
2、启动按钮 6、备用压重片 10、半螺母 14、导柱
3、限位开关 7、螺杆托架 11、挑纱杆 15、右黑板夹
4、手柄 8、左夹头座 12、压重法张力器 16、停止按钮
一、 用途及特点
本仪器用于黑板摇取棉及化纤纯纺、混纺纱线,按新国标《GB9996-88》要求检查纱线外观评级检验。
为适应新旧标准过渡时期的用户要求,本仪器在新国标六组绕线密度外,另设一组老标准绕线密度。左夹头座可调,能适用220mm及130mm两种宽度黑板。
二、 主要技术指标
电源电压:AC 220V
电机功率:40W
黑板规格:250×180×2mm 250×220×2mm
张力方式:分级压重片压重法。
摇纱密度:7、9、11、13、15、19(根/厘米)。
外形尺寸:600×370×300mm
三、 使用方法
本仪器应安放在稳固的工作台上,不能有倾斜和震动。
应设置并符合工作电压及电气安全要求的专用配电板,并确认插头上的“相、中、地”
各线。
联接电源,开启“电源”开关。
将试样用黑板一端插入黑板夹(9),并向左推动使黑板右端插入右黑板夹(15)。
右手按手柄(4)使半螺母(10)从螺杆上抬起,并向左移到规定位置。
将试样纱管插入纱管芯(5)上,引出纱头经导纱钩(11)、(13),再经过压重座(13)上平面和压纱片(20)之间,引过导纱钩(17),经导柱(14),将纱头绕紧在黑板左端缺口处。(见图1、2)

序号说明:
(5)纱管芯 (6)压重片 (11)(13)导纱钩 (14)导柱
(17)导纱钩 (13)压重座 (19)缓冲圈 (20)压纱片
按表2(见附录1)选择压重片后,装在压重片张力器的缓冲圈(19)上。
把皮带放在需要选择的密度档上。(共七档)
按启动键(2),黑板回转螺杆带动导柱(14),从左向右移动纱线往黑板上卷绕,至右端接触限位开关(3)运转即停止。
将纱线头摘断,并绕紧在黑板左端缺口处,取下黑板。
重复上述顺序摇第二块黑板。
一、 注意事项
仪器必须有效接地,以确保安全。
各油孔及螺杆等转动部位须经常加注润滑油,确保仪器正常运转。
做好仪器清洁保养工作。
换档时必须依次变换,不能跳跃,以免皮带过度伸长而失效。
压纱片(20)的平面一定要保持平整,缓冲圈(19)要有弹性,才能使纱线卷绕到黑板上的密度均匀。
如仪器发生故障,须有专业人员检修或接洽本公司,以便及时得到解决。